Pensando na construção de banheiro passo a passo? Muitas vezes, esse projeto parece complicado demais, não é mesmo? Fica tranquila! Eu compilei um guia detalhado que vai te ajudar a entender cada etapa. Vamos desmistificar essa reforma e deixar seu banheiro novinho em folha, do jeito que você sempre sonhou, sem dor de cabeça. Vamos lá?
Construindo seu Espaço: Um Banheiro Novo e Funcional
Sabe quando o banheiro parece pequeno demais ou não funciona do jeito que você precisa? Construir um novo, ou reformar o que já existe, pode mudar tudo! Um banheiro bem planejado traz praticidade para o dia a dia, melhora a circulação e ainda pode valorizar seu imóvel. Pense nas suas necessidades: quer mais espaço para guardar coisas? Uma bancada maior? Uma área de banho mais confortável? A obra começa com a planta, definindo cada detalhe.
A construção envolve diversas etapas, desde o quebra-quebra inicial até os acabamentos. É fundamental cuidar da impermeabilização para evitar problemas futuros e garantir que a hidráulica e a elétrica fiquem bem resolvidas. Cada fase exige atenção aos detalhes. Escolher os revestimentos, louças e metais certos faz toda a diferença no resultado final, deixando seu espaço bonito e funcional. É um investimento que vale a pena para o seu conforto.
Confira este vídeo relacionado para mais detalhes:
O Passo a Passo Essencial para uma Reforma de Banheiro sem Erros

Planejamento é o segredo: defina seu estilo e suas necessidades
Sabe, antes de sair comprando tudo, o primeiro passo é realmente sentar e pensar. O que você *realmente* quer e precisa para o seu banheiro? Pense no seu dia a dia. Quem usa mais esse espaço? Quais são as suas prioridades? Talvez você sonhe com um espaço para relaxar, ou quem sabe precise de soluções mais práticas para otimizar o espaço. Definir isso antes de qualquer coisa vai te poupar tempo e dinheiro.

Pensar no seu estilo pessoal é fundamental. Você se sente mais atraída por algo moderno e clean, ou prefere um toque rústico e aconchegante? A escolha das cores, dos revestimentos, dos materiais – tudo isso comunica a sua personalidade. Não se prenda a tendências passageiras; o importante é que o ambiente reflita quem você é e te traga bem-estar todos os dias.
Seu banheiro deve funcionar para você. Liste as funções essenciais que ele precisa cumprir e depois liste os itens que facilitariam sua vida. Desde a disposição dos móveis até a escolha de um bom espelho, tudo conta. Lembre-se que a funcionalidade anda lado a lado com a estética; um banheiro bonito é bom, mas um banheiro bonito E prático é o ideal!
Dica Prática: Antes de decidir o layout, meça tudo com atenção. Considere a abertura das portas, o espaço para circulação e a localização de pontos de água e esgoto. Isso evita surpresas desagradáveis na hora da obra.

Orçamento em mãos: quanto você pode investir?
Sabe, a gente sabe que obra dá um frio na barriga quando se pensa no bolso. Mas ficar com o orçamento em mãos antes de começar a construção do seu banheiro passo a passo é o que vai te dar segurança. É hora de ser realista e ver exatamente quanto você pode e quer investir. Nada de surpresas desagradáveis lá na frente, viu?

Quando você define seu limite, tudo fica mais claro. Você pode escolher materiais que cabem no seu bolso sem comprometer a qualidade, decidir se vai fazer tudo de uma vez ou parcelar, e até negociar melhor com os profissionais. Pense nesse valor como seu guia para não se perder no projeto do banheiro. Fica tranquila, com um planejamento financeiro, tudo flui.
Não se esqueça de incluir na conta os imprevistos. Sempre surge algo que a gente não planejou. Uma pequena reserva para emergências é fundamental para que a construção do seu banheiro passo a passo aconteça sem perrengues. Vamos combinar, é melhor sobrar do que faltar!
Dica Prática: Faça uma planilha detalhada, separando os gastos por etapa: demolição, hidráulica, elétrica, revestimentos, louças, metais e acabamento. Assim, você tem controle total.

Licenças e aprovações: verifique as exigências locais
Vamos falar de uma parte essencial, e que muita gente deixa pra depois: as licenças e aprovações! Pois é, antes de meter a mão na massa para a construção do seu banheiro, é super importante dar uma olhada nas exigências da sua cidade ou condomínio. Cada lugar tem suas regrinhas, e não verificar isso pode te dar uma dor de cabeça danada lá na frente. A gente quer que tudo saia perfeito, sem imprevistos, né?

Essa etapa envolve entender quais documentos você precisa apresentar na prefeitura ou órgão responsável. Geralmente, para reformas ou construções, pedem um projeto básico, informações sobre o terreno e quem vai executar a obra. Se você vai contratar alguém, é bom que o profissional já esteja ciente disso e possa te orientar. Vale a pena pesquisar no site da prefeitura ou ir pessoalmente para pegar todas as informações certas. Fica tranquila, não é um bicho de sete cabeças, mas exige atenção.
É aqui que você garante que tudo está dentro da lei e evita multas ou a necessidade de refazer algo. Pensar nas licenças e aprovações desde o começo, faz parte de um bom planejamento para a construção do seu banheiro. É um passo que te dá segurança e garante que sua obra vai seguir o fluxo sem tropeços.
Dica Prática: Pergunte ao seu engenheiro ou arquiteto sobre todas as licenças necessárias. Se for fazer você mesma, ligue para a prefeitura e peça a lista completa de exigências para obras residenciais.

Escolha a equipe certa: profissionais qualificados fazem a diferença
Quando a gente decide reformar ou construir um banheiro, a escolha dos profissionais é fundamental. Pois é, não adianta ter o projeto mais lindo do mundo se a mão de obra não for qualificada. Eu mesma já passei por perrengues com reformas que se arrastaram e custaram mais caro do que o previsto. Para a construção de um banheiro passo a passo sair do papel direitinho, procure gente que entende do riscado. Pense em pedreiros com boa referência, eletricistas e encanadores experientes. A qualidade do trabalho deles impacta diretamente na durabilidade e segurança do seu novo espaço.

Vamos combinar, um banheiro bem feito é outro nível. Isso significa desde a instalação correta dos azulejos, sem caimento errado que alaga o piso, até a ligação dos pontos de água e esgoto sem vazamentos futuros. Um bom profissional vai te orientar sobre os melhores materiais, te ajudar a evitar desperdícios e garantir que tudo esteja de acordo com as normas técnicas. Isso é essencial para que a construção do seu banheiro passo a passo seja um sucesso e não uma dor de cabeça sem fim. A economia a longo prazo com menos retrabalho compensa demais!
Fica tranquila, é possível encontrar os profissionais certos. Peça indicações para amigos e familiares que já fizeram reformas. Pesquise por avaliações online. Converse com pelo menos três orçamentos diferentes antes de decidir. Pergunte sobre a experiência deles em obras semelhantes à sua. Verifique se eles têm um portfólio para você dar uma olhada no trabalho já realizado. Lembre-se que um bom diálogo desde o início evita muitos problemas.
Dica Prática: Peça sempre um contrato detalhado, mesmo para pequenas reformas. Ele te protege e formaliza o combinado, garantindo que a construção do banheiro passo a passo seja transparente.

Demolição cuidadosa: o começo de tudo
A demolição, na verdade, é onde tudo começa. É a fase de “desconstruir” para poder construir o que você sonha. Pensar em cada pedacinho que vai sair é fundamental pra não ter surpresa depois. Eu gosto de pensar que é como preparar a tela antes de pintar. Um bom começo garante um resultado impecável.

Vamos combinar, ninguém quer lidar com entulho sem necessidade ou danificar a estrutura que vai continuar. Então, a dica é: planeje o que será removido. Se for o caso de trocar o piso, a gente foca só no piso. Se a ideia é mudar a posição de uma parede ou de um encanamento, a demolição vai ser um pouco mais profunda, mas ainda assim, controlada. A segurança vem em primeiro lugar, tá?
Por isso, antes de pegar o martelo, a gente precisa ter clareza do que vai sair. Isso evita dor de cabeça e gastos extras com reparos inesperados. É a base para que a sua construção de banheiro passo a passo seja um sucesso.
Dica Prática: Antes de começar a demolição, desligue o registro geral de água e a energia elétrica do banheiro para evitar acidentes graves.

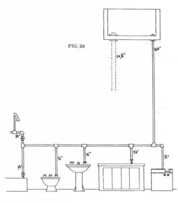
Hidráulica e elétrica: a base invisível do seu novo banheiro
Pois é, quando falamos de “construção de banheiro passo a passo”, a hidráulica e a elétrica são os alicerces que ninguém vê, mas que fazem toda a diferença. É a tubulação que vai trazer a água quentinha pro seu banho relaxante e a fiação que vai acender a luz e ligar o seu secador de cabelo sem dar nenhum susto. Garantir que isso esteja bem feito desde o começo é o que evita dor de cabeça futura com vazamentos, mofo ou problemas de energia.

Pensar na disposição dos pontos de água e luz é crucial. Onde vai ser o chuveiro? A pia? O vaso sanitário? E a iluminação? Você quer um espelho com luz própria? Uma tomada perto da pia para o secador ou chapinha? Um profissional vai te ajudar a planejar isso direitinho, garantindo que os pontos estejam no lugar certo, com a pressão de água ideal e a segurança elétrica que você merece.
Esses detalhes invisíveis determinam todo o conforto e funcionalidade do seu novo espaço. Um bom projeto hidráulico e elétrico não só atende às suas necessidades atuais, mas também permite futuras adaptações, caso você queira mudar algo depois. Vamos combinar, investir bem nessa fase é garantir um banheiro bonito, seguro e que funcione perfeitamente por anos.
Dica Prática: Peça ao seu pedreiro ou encanador para te mostrar o projeto hidráulico e elétrico finalizado antes de fechar as paredes. Assim, você sabe exatamente onde tudo está passando e pode conferir se está tudo de acordo com o planejado.

Impermeabilização: evite dores de cabeça futuras
Se tem uma coisa que me tira o sono em qualquer obra é a questão da impermeabilização. Especialmente na construção de banheiro, a gente precisa pensar nisso com muito carinho para evitar problemas lá na frente. Sabe aquelas infiltrações que aparecem depois de um tempo, manchando o teto do vizinho ou causando mofo? Pois é, uma boa impermeabilização é o segredo para escapar de tudo isso. É um passo que vale cada centavo investido.

Quando a gente fala em impermeabilizar o banheiro, a atenção tem que ser redobrada nas áreas molhadas: o box, ao redor da pia e claro, o piso. Existem vários produtos no mercado, como mantas asfálticas, argamassas poliméricas e membranas acrílicas. A escolha depende muito do tipo de construção e do orçamento disponível, mas o importante é garantir que a aplicação seja feita corretamente, cobrindo bem todas as quinas e pontos de junção. É fundamental seguir as instruções do fabricante à risca.
Muita gente acha que é só jogar um produto e pronto, mas não é bem assim. Um bom profissional sabe como preparar a superfície, aplicar as camadas necessárias e esperar o tempo de cura adequado de cada uma. Fica tranquila, porque se feito do jeito certo, você não terá dores de cabeça com umidade por muitos e muitos anos. Isso ajuda a preservar a estrutura da sua casa e a garantir um ambiente mais saudável.
Dica Prática: Converse com seu pedreiro sobre as opções de impermeabilização e peça para ele te mostrar o material que será usado. É bom saber o que está sendo aplicado.

Assentamento de revestimentos: a beleza que você vê

Para um banheiro que realmente se destaca, o assentamento dos revestimentos precisa ser feito com muita atenção. É um processo que exige precisão. Pense nas juntas: elas precisam estar uniformes, alinhadas. Isso não é só estética, viu? Junta bem feita ajuda a evitar infiltrações e facilita a limpeza. E o corte das peças? Ah, esse é um detalhe crucial. Um corte bem medido e executado faz toda a diferença, especialmente em cantos e perto de ralos.
A beleza que você vê no seu banheiro, no seu box, nos detalhes, é fruto de um assentamento bem cuidado. É a atenção aos pormenores que eleva o acabamento. Vamos combinar, um piso e paredes bem revestidos fazem o espaço parecer mais sofisticado e clean.
Dica Prática: Ao escolher o rejunte, pense em cores que harmonizem com o seu revestimento. Um rejunte mais escuro pode disfarçar sujeirinhas do dia a dia em áreas de maior uso, como o chão do banheiro. Fica a dica de quem já passou por isso!

Instalação de louças e metais: acabamento e funcionalidade
Chegou a hora de ver a mágica acontecer! Instalar a pia, o vaso sanitário e o box é um passo que exige atenção aos detalhes. É aqui que o seu banheiro começa a ganhar forma e funcionalidade. Pensar na altura certa da pia, no posicionamento do vaso e na vedação do box é fundamental para evitar problemas futuros, como vazamentos ou desconforto no uso.

Quando falamos de metais, como torneiras e chuveiros, a escolha certa faz toda a diferença no dia a dia. Procure por modelos que combinem com o estilo do seu banheiro, mas que também sejam práticos na limpeza e duráveis. A instalação correta garante que a água flua sem interrupções e que você tenha uma experiência relaxante no banho. Fica tranquila, com as ferramentas e um pouco de paciência, dá para fazer render!
A vedação, especialmente no box, é um ponto que não pode ser negligenciado. Um bom silicone de qualidade e uma aplicação cuidadosa evitam que a água escape para fora, mantendo o restante do banheiro seco. Isso não só evita transtornos, mas também ajuda a prevenir mofo e infiltrações.
Dica Prática: Sempre limpe bem as superfícies antes de aplicar o silicone. Isso garante que ele fixe melhor e faça uma vedação perfeita, sem bolhas ou falhas.

Pintura e detalhes finais: o toque pessoal que faz tudo brilhar
Chegamos na reta final da construção do seu banheiro! A pintura é onde a mágica acontece, sabe? É o seu toque pessoal que vai dar vida e personalidade a esse espaço. Pense nas cores que te fazem sentir bem, que trazem a energia que você quer para o seu dia a dia. Um banheiro bem pintado não só protege as paredes, mas também transforma completamente o ambiente, deixando ele mais convidativo e com a sua cara. É a hora de soltar a criatividade!

Na hora de pintar, a atenção aos detalhes faz toda a diferença. Use um bom selador antes da tinta, especialmente em áreas que podem ter contato com umidade. Para as paredes, tintas acrílicas ou à base de látex são ótimas opções, pois oferecem boa lavabilidade e resistência. Não esqueça dos rodapés e do teto! Para áreas como o box, onde a umidade é maior, considere usar tintas específicas para áreas molhadas ou até mesmo um acabamento com azulejo, que garante mais durabilidade e facilidade na limpeza. A escolha do acabamento – fosco, acetinado ou semibrilho – também impacta no visual e na manutenção.
E quando tudo estiver pintado, os detalhes finais vão selar o seu trabalho. Instale os acabamentos como espelhos, luminárias, puxadores e acessórios. Eles são como as joias do seu banheiro, sabe? Complementam o visual e trazem funcionalidade. Uma boa iluminação faz milagres, deixando o ambiente mais agradável. Por fim, a limpeza caprichada é o que vai fazer tudo brilhar, revelando o seu novo cantinho.
Dica Prática: Antes de começar a pintura, proteja bem o chão e as áreas que você não quer pintar com fita crepe e lonas. Facilita muito a limpeza depois!
Acabamentos que Transformam: Escolhas Inteligentes para seu Banheiro
| Item | O que envolve? | Minhas dicas de amiga! |
|---|---|---|
| Planejamento é o segredo: defina seu estilo e suas necessidades | Pensar no uso do banheiro: quantas pessoas usam? Precisa de mais espaço? Que estilo te agrada? Moderno, clássico, rústico? | Fica tranquila, não precisa ser arquiteta! Pense no que te deixa feliz e no que realmente funciona no dia a dia. Faça uma pastinha de inspirações no Pinterest, sabe? Ajuda demais a clarear as ideias. |
| Orçamento em mãos: quanto você pode investir? | Definir o valor total para obra, materiais, mão de obra e imprevistos. | Pois é, essa parte é crucial. Seja realista com seus gastos. É melhor planejar com uma margem de segurança do que ter surpresas desagradáveis no meio da obra. Pesquise preços em diferentes lojas! |
| Licenças e aprovações: verifique as exigências locais | Saber se sua reforma precisa de autorização da prefeitura ou condomínio. | Às vezes, a gente esquece disso! Dependendo do tamanho da reforma, pode ser necessário. Um telefonema ou uma visita rápida na prefeitura resolve isso. Melhor prevenir! |
| Escolha a equipe certa: profissionais qualificados fazem a diferença | Contratar pedreiro, eletricista, encanador de confiança e com experiência. | Essa é a minha dica de ouro! Procure indicações de amigos, veja trabalhos anteriores. Um bom profissional evita muitos problemas e garante um resultado bacana. Combinar tudo direitinho com eles no início também é fundamental. |
| Demolição cuidadosa: o começo de tudo | Retirar revestimentos antigos, louças, e o que mais for necessário para a nova estrutura. | Essa parte pode fazer uma bagunça, então se prepare! Peça para a equipe isolar bem a área para não sujar o resto da casa. |
| Hidráulica e elétrica: a base invisível do seu novo banheiro | Instalação ou troca de canos de água, esgoto e fiação elétrica. | Vamos combinar, isso é muito importante! É a base de tudo. Garanta que os pontos de água e luz estejam exatamente onde você quer para sua nova pia, chuveiro, tomadas. Fale com o profissional sobre suas necessidades. |
| Impermeabilização: evite dores de cabeça futuras | Aplicação de produtos nas paredes e piso para evitar infiltrações e mofo. | Não economize aqui, sério! É um investimento que evita problemas futuros com mofo e infiltrações que são um pesadelo para resolver depois. Peça para aplicarem em áreas estratégicas como o box. |
| Assentamento de revestimentos: a beleza que você vê | Colocação de pisos e azulejos nas paredes e chão. | A escolha do revestimento dita muito o estilo do banheiro. Pense na praticidade da limpeza também. E olha, certifique-se de que o assentamento fique bem alinhado, faz toda a |
Confira este vídeo relacionado para mais detalhes:
Manutenção e Cuidados: Prolongando a Vida Útil do seu Banheiro
Pois é, depois de todo o trabalho duro para construir o banheiro dos seus sonhos, o que vem agora? A gente precisa cuidar dele para que tudo continue lindo e funcionando perfeitamente por muito tempo. Eu aprendi que um pouquinho de atenção regular faz toda a diferença!
Minhas Dicas Especiais para Manutenção:
- Limpeza Diária: Depois de usar, dê uma secada rápida na pia e no box. Isso evita aquelas marquinhas de água que são chatas de tirar depois. Um pano de microfibra é um salva-vidas aqui.
- Atenção à Vedação: Verifique as juntas de silicone do box, da pia e do vaso. Se notar alguma rachadura ou mofo começando, é hora de trocar. Um rejunte novo evita vazamentos e dá um ar de novo ao ambiente.
- Desentupimento Preventivo: Use aqueles ralos com tela para pegar cabelos e outros resíduos. Uma vez por mês, jogue um pouco de água fervente no ralo com vinagre para ajudar a manter tudo livre.
- Higiene do Vaso: Não espere acumular. Uma limpeza semanal com produtos adequados mantém o vaso sanitário brilhando e sem odores.
- Ventilação é Chave: Deixe a janela aberta ou o exaustor ligado por alguns minutos após o uso. Isso combate a umidade e o aparecimento de mofo.
Vamos combinar, cuidar do banheiro não precisa ser um bicho de sete cabeças. Com esses passos simples, você garante que seu espaço fique bonito e funcional por anos. Fica tranquila, vale a pena o pequeno esforço!
Dúvidas das Leitoras
Quanto tempo leva a construção de um banheiro?
O tempo varia muito, mas uma reforma ou construção de banheiro costuma levar de 2 a 4 semanas. Depende da complexidade do projeto e da disponibilidade dos materiais e mão de obra.
Quais são os custos médios para construir um banheiro?
Os custos são bem variáveis, mas para ter uma ideia, uma obra simples pode começar em torno de R$ 5.000. O valor aumenta conforme a qualidade dos materiais e os acabamentos escolhidos.
Preciso de um arquiteto para construir um banheiro?
Para reformas pequenas, nem sempre é obrigatório. Mas para construções novas ou grandes alterações, um arquiteto garante um projeto funcional e seguro, evitando dores de cabeça futuras.
Como escolher os melhores revestimentos para banheiro?
Pense na praticidade: porcelanatos e cerâmicas são ótimas pedidas pela durabilidade e facilidade de limpeza. Considere também o estilo que você quer dar ao ambiente.
Quais são as tendências atuais em decoração de banheiros?
Banheiros com mais personalidade estão em alta! Cores mais ousadas, texturas diferentes nos revestimentos e até elementos naturais como madeira clara e plantas deixam o espaço super charmoso.
Construir um banheiro do zero pode parecer assustador, mas seguindo cada passo, o resultado é super recompensador. Agora você tem as dicas essenciais para tirar seu projeto do papel. Se você gostou disso, vale a pena ver também sobre acabamentos para banheiros. Compartilhe suas dúvidas ou o resultado nas nossas redes!

